WillkommenWanderungenWanderstreckenGasthäuserServiceKontakt

Vorrichtung zur Wiederverwendung von Brauchwasser 

Vorrichtung zur Wiederverwendung von Brauchwasser von Badewannen und Waschmaschinen in Klosettspülkästen
Die Erfindung betrifft eine Vorrichtung zur Wiederverwendung von in Ein- und Mehrfamilienhäusern anfallendem Brauchwasser von Badewannen und Waschmaschinen in Klosettspülkästen, bestehend aus einem das Brauchwasser sammelnden Abwassertank und einer Pumpe zur Beschickung der Klosettspülkästen mit dem gesammelten Brauchwasser. Die Wiederverwendung dient der Verringerung des häuslichen Wasserverbrauchs. Bei entsprechenden Anlagen ergibt sich das Problem, daß die während der Waschgänge der Waschmaschine abfließende, stark verschmutzte und verseifte Lauge nicht nur schnell die Klosettspülkastenventile verstopft, sondern auch den Abwassertank mit Fest- und Schlammstoffen verunreinigt und die Rohrleitungen und die Pumpe zusetzt. Bei einer bekannten Vorrichtung dieser Art (DE-OS 29 08 679) wird deshalb in die Abflußleitung, die von den Badewannen und den Waschmaschinen zum Abwassertank führt, ein Filter eingebaut.

Dessen komplizierte Reinigung ist infolge des Verklebens durch Seifenreste in ganz kurzen Zeitabständen erforderlich. Der vorliegenden Erfindung liegt die Aufgabe zugrunde, eine Vorrichtung der im Oberbegriff des Patentanspruches 1 angegebenen Art so auszubilden, daß nur das wenig verschmutzte Brauchwasser der Waschmaschinen Wiederverwendung findet. Die Aufgabe wird erfindungsgemaß dadurch gelöst, daß der Waschmaschine ein ihren Ablauf aufnehmender und mit einem Thermostat ausgestatteter Bottich zugeordnet 2 ist, wobei der Thermostat zur Steuerung einer in den Bottichauslauf eingebauten Absperrvorrichtung vorgesehen ist, und zwar in der Weise, daß das heiße, stark verschmutzte Brauchwasser aus der Waschmaschine in die Kanalisation abführbar ist, während das kühlere, wenig verschmutzte Brauchwasser im Bottich speicherbar und aus diesem in den Abwassertank einleitbar ist. Eine besonders baukostangünstige Vorrichtung wird erzielt, wenn das Brauchwasser aus dem Bottich in den Abwassertank mit derselben Pumpe und durch dieselbe Steigleitung abgesaugt wird, welche zur Beschickung der Klosettspülkästen dienen. In der Zeichnung ist ein Ausführungsbeispiel der Erfindung dargestellt und wird im folgenden näher beschrieben.



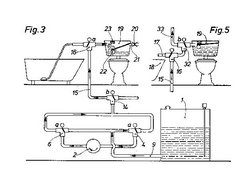
Dabei zeigen F i g. 1 bis 4 als Beispiel die Vorrichtung in einem Einfamilienhaus in vier verschiedenen Schaltstellungen. F i g . 5 im Ausschnitt eine Abzweigung für weitere Wohnungen.